واتس اب

8615665727870

ارسل لنا عبر البريد الإلكتروني

sdepochwater@hotmail.com

أخبار

خصائص وتصنيف صمامات البوابة


صمام البوابة، المعروف أيضًا باسم صمام لوحة البوابة، هو صمام يكون جزء فتحه وإغلاقه عبارة عن لوحة بوابة، ويتم تشغيله بواسطة ساق الصمام لتحريك لوحة البوابة لأعلى ولأسفل.


خصائص صمامات البوابة


1) مزايا صمامات البوابة: مقاومة منخفضة لتدفق السوائل؛ عزم الدوران المطلوب للفتح والإغلاق صغير. اتجاه تدفق الوسط غير مقيد. لا توجد ظاهرة المطرقة المائية عند الفتح والإغلاق. هيكل الشكل بسيط نسبيًا، وعملية التصنيع أفضل.


2) عيوب صمامات البوابة: أبعادها الخارجية وارتفاعات تركيبها كبيرة نسبيًا، وتتطلب مساحة تركيب كبيرة. أثناء عملية الفتح والإغلاق، هناك احتكاك نسبي على سطح الختم، مما يؤدي إلى تآكل كبير. حتى في درجات الحرارة المرتفعة، فهو عرضة للخدوش. عادةً ما تحتوي صمامات البوابة على سطحين مانعين للتسرب، مما يضيف بعض الصعوبات في المعالجة والطحن والصيانة.


صمامات البوابة لديها مجموعة واسعة من التطبيقات. يتم استخدامه عادة لخطوط أنابيب إمداد المياه بقطر اسمي DN50 أو أكثر.



تصنيف صمامات البوابة


يمكن تصنيف صمامات البوابة عن طريق طرق الاتصال إلى صمامات بوابة ملولبة، وصمامات بوابة ذات حواف، وصمامات بوابة ملحومة. وفقًا للميزات الهيكلية، يمكن تقسيمها إلى صفائح بوابة متوازية وألواح بوابة إسفينية. بناءً على هيكل ساق الصمام، يمكن تصنيفها إلى صمامات بوابة جذعية مميزة (ساق الرفع) وصمامات بوابة جذعية مخفية (ساق دوارة).




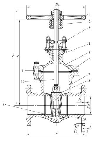
1) صمام البوابة المزدوجة المتوازي ذو الجذع المفتوح: يظهر في الشكل 1 صمام البوابة المزدوجة المتوازي ذو الجذع المفتوح. تتكون بوابته من قرصين متماثلين ومتوازيين. عندما تنزل البوابة، فإن الإسفين العلوي الموجود في أسفل البوابة يتسبب في تمدد البوابتين للخارج والضغط بإحكام على مقعد الصمام، وبالتالي إغلاق الصمام بإحكام. عندما ترتفع البوابة، ينفصل الإسفين عن القرص. بمجرد أن يرتفع القرص إلى ارتفاع معين، يتم رفع الإسفين بواسطة النتوءات الموجودة على القرص ويرتفع مع البوابة. هذا الصمام لديه هيكل بسيط. إن معالجة وطحن وصيانة سطح الختم الخاص به كلها أبسط من تلك الخاصة بصمام البوابة الإسفينية. ومع ذلك، أداء الختم ضعيف نسبيا. إنها مناسبة للوسائط ذات الضغط الذي لا يتجاوز 1.0MPa ودرجة الحرارة لا تتجاوز 200 درجة مئوية.



الشكل 1: صمام البوابة المزدوجة المتوازية ذات الجذع المرتفع


1. العجلة اليدوية 2- صامولة ساق الصمام 3- ساق الصمام 4- غدة التعبئة 5- التعبئة 6- غطاء الصمام

7 - الحشية 8 - حلقة الختم 9 - جسم الصمام 10 - البوابة 11 - الإسفين العلوي


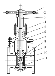
2) صمام بوابة إسفيني جذعي مخفي: كما هو موضح في الشكل 2، يميل سطح الختم لهذا الصمام ويشكل زاوية. كلما ارتفعت درجة الحرارة المتوسطة، كلما كانت الزاوية أكبر. يتم تصنيف ألواح البوابة الإسفينية إلى ألواح بوابة مفردة، وألواح بوابة مزدوجة، وألواح بوابة مرنة، كما هو موضح في الأشكال 2 أ، ب، ج على التوالي. تعد معالجة وطحن وصيانة ألواح البوابة الإسفينية أكثر تعقيدًا من تلك الخاصة بألواح البوابة المتوازية، ولكنها تتمتع بأداء إغلاق أفضل.


الشكل 2: صمام بوابة إسفين جذعي مخفي


أ) لوحة بوابة إسفينية واحدة ب) لوحة بوابة إسفينية مزدوجة ج) لوحة بوابة إسفينية مرنة


1. عقارب 2. المؤشر 3. الغطاء 4. صندوق الحشو 5. التعبئة 6. غطاء الصمام

7- ساق الصمام 8 - صامولة ساق الصمام 9، 12 - حلقة الختم 10 - جسم الصمام 11 - لوحة البوابة 13 - الحشية


يظهر صمام البوابة المرنة في الشكل 3. ويتميز بمزايا الهيكل البسيط والاستخدام الموثوق، ويمكن أن ينتج تشوهًا مرنًا صغيرًا، مما يزيد من إحكام الإغلاق.



الشكل 3: صمام البوابة المرنة


1. العجلة اليدوية 2- صامولة جذع الصمام 3- غدة التعبئة 4- التعبئة 5- غطاء الصمام 6- الحشية

7- جسم الصمام 8 لوحة البوابة 9 - حلقة الختم 10 - ساق الصمام 11 - مسمار التوصيل


في صمام البوابة الجذعي الصاعد، يتم تركيب خيط ساق الصمام مع صامولة الأكمام المجهزة بعجلة يدوية. يحتوي الطرف السفلي من ساق الصمام على رأس مربع، وهو مدمج في لوحة البوابة. عندما يتم تشغيل العجلة اليدوية، يتحرك ساق الصمام ولوحة البوابة لأعلى ولأسفل. عند الفتح، يمتد ساق الصمام إلى خارج العجلة اليدوية. الميزة هي أنه يمكن الحكم على درجة فتح الصمام من الطول الممتد لساق الصمام، ولا يتلامس ساق الصمام بشكل مباشر مع الوسط المنقول. العيب هو أن الصمام لديه ارتفاع فتح كبير، ويجب أن يحتوي موقع التثبيت على مساحة كافية حتى يمتد ساق الصمام إلى الخارج. عند التثبيت في الموقع، تأكد من الانتباه إلى هذه النقطة. يتناسب الخيط الخارجي لساق الصمام لصمام البوابة الجذعية المخفي مع الخيط الداخلي المدمج في الصمام. ولذلك، عندما يتم تشغيل العجلة اليدوية، يدور ساق الصمام، مما يتسبب في تحرك البوابة الموجودة داخل الصمام لأعلى ولأسفل، لكن ساق الصمام لا يمكنه التحرك لأعلى ولأسفل. يشغل صمام البوابة الجذعية المخفي مساحة أقل أثناء التثبيت. يتلامس الوسط المنقول بشكل مباشر مع ساق الصمام، ولا يمكن الحكم على درجة فتح الصمام من خلال ساق الصمام. سواء كان صمام البوابة الجذعية الصاعد أو صمام البوابة الجذعية غير الصاعد، يجب تثبيت صمام البوابة أفقيًا. يجب أن يكون ساق الصمام عموديًا للأعلى وغير مائل. يمنع منعا باتا تثبيت ساق الصمام للأسفل.



أخبار ذات صلة
اترك لي رسالة
X
نحن نستخدم ملفات تعريف الارتباط لنقدم لك تجربة تصفح أفضل، وتحليل حركة مرور الموقع، وتخصيص المحتوى. باستخدام هذا الموقع، فإنك توافق على استخدامنا لملفات تعريف الارتباط. سياسة الخصوصية
يرفض يقبل